I have HP LP2475W LCD Monitor used as a bench monitor for testing analog equipment, I have it hooked up to my JVC HR-S7600AM S-VHS VCR via S-Video cable, The VCR can play any VHS/S-VHS tape PAL/SECAM/NTSC, I have a problem with displaying NTSC video tapes, I get a wider than normal 4/3 aspect ratio, Is there anyway to correct this or I just have to live with it? I played with all the monitor setting nothing worked.
If it was a media player connected with HDMI/DVI/DisplayPort I would just assume that the TV is not compatible with the media player resolution, But this is an analog VCR connected with an analog connector, it is weird that the monitor is made for US market not Europe, I would think PAL video signal should be deformed not NTSC.
+ Reply to Thread
Results 1 to 30 of 30
-
Last edited by dellsam34; 5th Mar 2017 at 00:47.
-
-
-
You're capping 4:3 720x480? If so, wider is exactly the way it's supposed to be. You can 'fix' it before encoding for the final display format by either setting a SAR (or DAR) in the video stream or by resizing to some 1.33:1 aspect ratio, one such as 640x480. Or, if you want to play it properly now, you should be able to do that in your player. For example, in the MPC-HC I use I right-click the screen and then go Video Frame->Override Aspect Ratio->4:3.
-
-
-
-
According to this Indonesian site, this is one of those PAL VCRs with the SCART connections removed.
http://www.tokodigitalshop.com/product/item/99c8befb36
These were an attempt to allow playback/viewing almost anywhere in the world without taking the next step
of needing to buy a true converting VCR costing hundreds of dollars more.
Why they tried this in a high(er) end VCR like this is beyond me. -
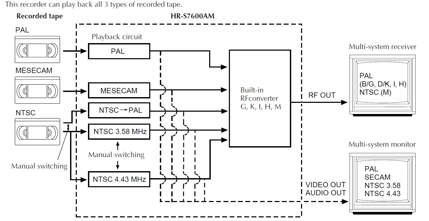
This is the only high end S-VHS deck JVC made in multi system without having to convert from a standard to another which sacrifices the quality like those expensive low quality worldwide VCR's, It has different circuits inside for each standard and it switches between them, So yes it is true PAL/MESECAM/NTSC, It took me more than 5 years to hunt one down online from an Asian auction website, They are made in Japan and they are supper rare, I hope this addresses your curiosity.
-
So it looks like no one is familiar with this strange aspect ratio display for NTSC video analog source, I posted this on a HP forum for over a year and no one responded to the thread.
-
Face it, you got ripped off by industry buzzwords. Look at that chart again.
NTSC 4:43? Google that.
Multi-system Monitor? Do you have one of those? I do. It's called a PAL television.
Wanna play with anything other than NTSC in an NTSC environment?.....spend the big bucks and get a true converting VCR. Any other attempt leads to tears and an empty wallet. -
Ok dude, If you want to address the issue that I'm having with the HP monitor which I already did test with a US made NTSC VCR with a US made NTSC tape and displayed the aspect ratio exactly as the JVC deck, If not feel free to stay away, Keep the converting VCR for yourself I don't need one, I want to playback tapes in their native format. "Converting VCR" my ass.
-
Have you tried all the options under the Image Control/Custom Scaling menu?
-
-
If you want to "playback" tapes in their native format, use your NTSC machine and stop using a proven PAL machine.
I was a bit of a knucklehead too when I started importing PAL tapes into the US(where I was born and raised)....but nowhere NEAR your level.
Now that I live in a PAL region(Germany - where most of these VCRs were made by the way), I have a unique and mostly useless(to most of the population) knowledge of this stuff.
You think that if you can talk someone into getting this material to "view" correctly, that will solve your PAL in NTSC-land capture problem. NOBODY imports a VCR like this one into the US to "playback tapes in their native format".
DUDE.....it's OK to regret your purchases and acquisitions....I once paid WAY too much money for a Sony VCR because it had a cool flip-down front cover. -
You're a ******* idiot, I don't have a problem with the VCR, I have stated that already, I have a problem with the monitor that doesn't work with any of my VCR's or any NTSC analog video source for that matter, the only knucklehead here is you, So piss off and let someone who's more knowledgeable than you are help me.
-
Jagabo, I posted in their forum and got no answer, they don't offer free help by phone, I like this monitor because of the 16/10 screen ratio so it gives justice to both 16/9 materials and 4/3 materials, Once again it is just for bench testing not for entertainment, It was recommended to me by one of the guys who's like me into HiFi and VCR repair.
-
Jagabo, Do you know of any small monitor that has S-Video input and displays analog NTSC sources correctly, I can give up HDMI input option since I don't repair equipment with HDMI ports, I'm giving up on this monitor, I just hooked up my old TV box via S-Video and it displays picture stretched as well.
Last edited by dellsam34; 6th Mar 2017 at 03:01.
-
Since you've been through the setup menus and haven't found a fix your just SOL. Apparently HP doesn't care. And HP "support" just wants you to pay up before they tell you that.
No. Your best bet is to find a TV with s-video input that also has a VGA/DVI/HDMI input for a computer. It's probably going to be 16:9 though. And may not support NTSC and PAL and PAL60. -
Most likely dellsam34 needs to be looking at 2010 and older TVs to get both S-Video and VGA on a small TV.
I shopped for small TVs in early 2012 (I bought a 2011 model), 2013 (I bought a 2012 model), and 2015, and don't recall seeing S-Video connections on any of them. The TVs I purchased in 2012 and 2013 have VGA connections. The TV I helped my mother find in 2015 has no VGA connection, only HDMI for PC use. My mother's 26-inch Samsung LCD TV from 2008 does have S-video connections and VGA.Ignore list: hello_hello, tried, TechLord, Snoopy329 -
Thank you guys I will be looking for another monitor, I don't care about PAL60 I have no use for it, I will be checking craigslist constantly, this time I will try to find a 4/3 monitor to avoid aspect ratio conflict.
-
I'm thinking you have a problem with Wide Screen Signaling (WSS). It's a digital flag sent on Lines 20/283 for NTSC. Maybe your monitor is mishandling what it sees in the s-video signal. Or maybe the flag is erroneously set in your video recordings and other equipment just ignores it.
-
I didn't think the monitor needs a flag thru composite and S-Video, It should default to 4/3 when using those inputs unless the user wants to change it to 16/9, but the stretched picture doesn't fill the screen though, it leaves small black bars on the left and right sides of the screen, this is probably not bad for most people but for me I like it to be exactly 4/3 aspect ratio.
-
What I'm saying is that maybe your monitor is not defaulting to 4:3 for some reason, and the reason could be that it sees (or thinks it sees) a WSS code for widescreen. WSS is in the video signal itself. It's not a user setting.
-
-
WSS part of the video signal recorded on the tape. But it is nearly unheard of for an NTSC signal to include it.
-
After doing some research online about video monitors it turns out the monitor I have doesn't recognize non square pixels, it displays them as square pixels no matter what shape they are in, So PAL signal is the closest to 4/3 aspect ratio based on the chroma frequency (no pixel structure in analog video) although it is not perfectly 4/3, I measured it.
Similar Threads
-
'Recorded TV' folder contents not backed up.
By sambat in forum Capturing and VCRReplies: 0Last Post: 1st Jan 2016, 15:55 -
What is the tool to use for audio/video website contents
By MGadAllah in forum Off topicReplies: 7Last Post: 27th Jul 2014, 10:36 -
Toshiba mediaShare folder not updating contents
By lukuser in forum DVB / IPTVReplies: 0Last Post: 22nd Feb 2014, 07:17 -
XP bluray disk contents problem
By hartless in forum DVD & Blu-ray WritersReplies: 3Last Post: 20th Dec 2013, 16:49 -
LG 50PK350 do not play full hd MP4/MKV contents
By jjcmmgb in forum Newbie / General discussionsReplies: 4Last Post: 12th Mar 2013, 13:44


Quote
